|
|
| 本產品詳細參數 |
 |
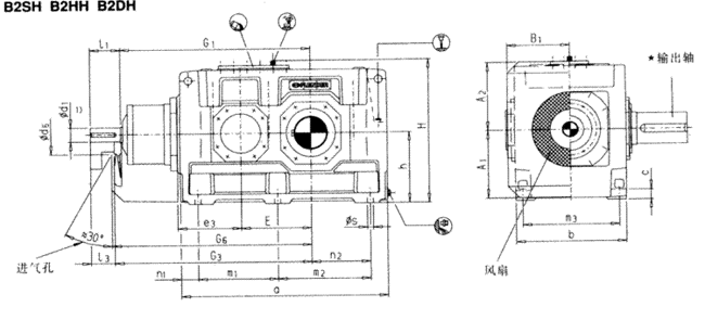
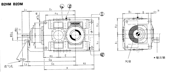
B2.H,B2.M型直交軸齒輪箱二級傳動臥式安裝 |
 |
| |
詳細介紹: |
發布時間:2006/5/23 8:44:24 |
|
| |
直交軸齒輪箱二級傳動臥式安裝(類型B2.H,B2.M)



1)m6≤∮100 n6>∮100
有關平鍵DIN 6885/1B型和中心孔
2)鍵槽DIN 6885/1
3)扭力支撐位于工作機側
|
規格 |
尺寸mm |
|
輸入軸 |
|
iN=5-11.2 |
iN=5.6-11.2 |
iN=5.6-12.5 |
iN=6.3-14 |
iN=7.1-12.5 |
G1 |
G3 |
|
d11) |
l1 |
l3 |
d11) |
l1 |
l3 |
d11) |
l1 |
l3 |
d11) |
l1 |
l3 |
d11) |
l1 |
l3 |
|
13 |
110 |
205 |
165 |
|
|
|
|
|
|
|
|
|
|
|
|
1070 |
1110 |
|
14 |
|
|
|
|
|
|
|
|
|
110 |
205 |
165 |
|
|
|
1140 |
1180 |
|
15 |
130 |
245 |
200 |
|
|
|
|
|
|
|
|
|
|
|
|
1277 |
1322 |
|
16 |
|
|
|
|
|
|
130 |
245 |
200 |
|
|
|
|
|
|
1323 |
1368 |
|
17 |
|
|
|
150 |
245 |
200 |
|
|
|
|
|
|
|
|
|
1435 |
1480 |
|
18 |
|
|
|
|
|
|
|
|
|
|
|
|
150 |
245 |
200 |
1495 |
1540 |
|
規格 |
尺寸mm |
|
齒輪箱 |
|
a |
A1 |
A2 |
b |
B1 |
c |
c1 |
d6 |
D5 |
e2 |
e3 |
E |
g |
|
13 |
1130 |
430 |
450 |
655 |
375 |
60 |
61±2 |
245 |
48 |
405 |
380 |
370 |
264 |
|
14 |
1270 |
430 |
450 |
655 |
375 |
60 |
61±2 |
245 |
48 |
475 |
380 |
440 |
264 |
|
15 |
1350 |
490 |
495 |
765 |
435 |
70 |
72±2 |
280 |
55 |
485 |
450 |
442 |
308 |
|
16 |
1440 |
490 |
495 |
765 |
435 |
70 |
72±2 |
280 |
55 |
530 |
450 |
488 |
308 |
|
17 |
1490 |
540 |
555 |
885 |
505 |
80 |
81±2 |
380 |
65 |
525 |
510 |
490 |
356 |
|
18 |
1610 |
540 |
555 |
885 |
505 |
80 |
81±2 |
380 |
65 |
585 |
510 |
550 |
356 |
|
規格 |
尺寸mm |
|
齒輪箱 |
|
G6 |
h |
h1 |
h2 |
H |
m1 |
m2 |
m3 |
n1 |
n2 |
n3 |
n4 |
s |
|
13 |
1130 |
440 |
450 |
460 |
900 |
465 |
465 |
580 |
100 |
305 |
675 |
340 |
35 |
|
14 |
1200 |
440 |
450 |
460 |
900 |
465 |
605 |
580 |
100 |
375 |
745 |
340 |
35 |
|
15 |
1340 |
500 |
490 |
500 |
1000 |
555 |
555 |
670 |
120 |
365 |
805 |
375 |
42 |
|
16 |
1385 |
500 |
490 |
500 |
1000 |
555 |
645 |
670 |
120 |
410 |
850 |
375 |
42 |
|
17 |
1500 |
550 |
555 |
560 |
1110 |
610 |
610 |
780 |
135 |
390 |
895 |
420 |
48 |
|
18 |
1560 |
550 |
555 |
560 |
1110 |
610 |
730 |
780 |
135 |
450 |
955 |
420 |
48 |
|
規格 |
尺寸mm |
潤滑油 |
重量 |
|
輸出軸 |
B2.H |
B2.M |
|
B2SH |
B2HH B2HM |
B2DH B2DM |
軸封
(1) |
迷宮式密封
(1) |
(1) |
B2.H |
B2.M |
|
d21) |
G2 |
l2 |
D22) |
G4 |
D3 |
D4 |
G4 |
G5 |
(kg) |
(kg) |
|
13 |
200 |
390 |
350 |
- |
- |
- |
- |
- |
- |
140 |
125 |
120 |
2450 |
2350 |
|
14 |
210 |
390 |
350 |
210 |
390 |
210 |
215 |
390 |
535 |
155 |
140 |
130 |
2825 |
2725 |
|
15 |
230 |
460 |
410 |
- |
- |
- |
- |
- |
- |
220 |
195 |
180 |
3990 |
3795 |
|
16 |
240 |
460 |
410 |
240 |
450 |
240 |
245 |
450 |
620 |
230 |
205 |
190 |
4345 |
4160 |
|
17 |
250 |
540 |
410 |
- |
- |
- |
- |
- |
- |
320 |
280 |
260 |
5620 |
5320 |
|
18 |
270 |
540 |
470 |
275 |
510 |
280 |
285 |
510 |
700 |
335 |
300 |
275 |
6150 |
5860 | |
|
|
|