1主題內容與適用范圍
本標準規定了擺線針輪減速機(以下簡稱減速機)噪聲聲功率級測定的測試條件、測試儀器、測點位置及數量、聲功率級的計算以及測試結果的判定原則。
本標準適用于在符合規定的試驗場地(即環境修正量K2小于或等于3dB)測定減速機的A計權聲功率級。在有要求時,根據本標準也可測定頻帶聲功率級和指向性指數。
2引用標準
GB 3241 聲和振動分析用的1/1和1/3倍頻程濾波器
GB3785 聲級計的電、聲性能及測試方法
GB3947 聲學名詞術語
GB31027 聲學的量和單位
JJG176 聲壓級校準器試驗檢定規程
JJG188 聲級計試行檢定規程
3測試儀器
3.1測試儀器應采用符合GB3785規定的1型或0型的聲級計以及準確度相當的其他測試儀器。當頻譜分析時,使用的1/1倍頻程或1/3倍頻程濾波器,應符合GB3241的規定。測試儀器按JJG188及JJG176的規定定期進行檢定。
3.2測量前后的校準
儀器在測量前后必須用精度不低于0.5dB的聲級校準器進行校準,當測量前后校準的差值大與1.0dB時,測量無效。
4測試要求
4.1減速機的按裝
減速機應牢固地安裝在穩定可靠的基礎上,使測試環境的影響減小到最小。
4.1.1雙軸型、直聯型臥式減速機應臥式按裝在彈性墊上上試驗。
4.1.2雙軸型立式減速機應改為臥式安裝進行試驗,在支架與基礎之間家彈性墊。
4.1.3直聯型立式減速機應立試安裝在彈性墊上進行試驗。
4.1.4推薦采用6~20mm厚的橡膠板作彈性墊。
4.2減速機在測試時的狀態
減速機應在空載、額定輸入轉速運轉狀態下進行正、反兩個方向的測試。
4.3測試房間
本標準要求房間的反射對各測點的讀數的影響不超過3dB,即環境修正量K2小于或等于3 dB或K2小于或等于3 dB的倍頻程,測量結果按6.2修正。
如果環境修正量K2大于3 dB,可以采取聲學措施,以提高房間的吸聲量,或者另選合適的房間。
4.4基準體長I1、寬I2和高I3的確定
4.4.1雙軸型臥式按裝的減速機(見圖1)基準體的長I1為減速機輸出端法蘭盤最外側平面與輸入端法蘭盤(或風扇罩)最外側平面之間的距離,寬I2為機座兩側肋板外側平面之間的距離,I3為試驗平板(或地面)與機座最高處(吊環螺釘除外)之間的距離。
4.4.2直聯型臥式安裝的減速機(見圖2),基準體的長I1為減速機輸出端法蘭盤最外側平面與電動機風扇罩頂平面之間的距離,寬I2、高I3與4.4.1條相同。
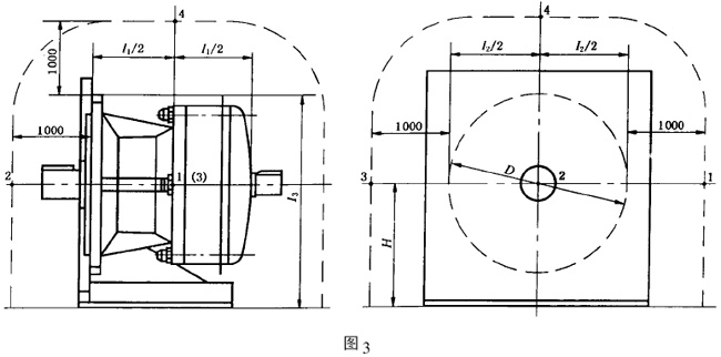
4.4.3雙軸型立式安裝的減速機(見圖3),基準體的長I1、高I3與4.4.1條相同,寬I2為機座支承平面的外圓直徑D。
4.4.4直聯型立式安裝的減速機(見圖4),基準體的長I1、寬I2、均為機座支承平面的外圓直徑D,高I3為機座支承平面與電動機風扇罩頂平面之間的距離L家h(h為支架高度家橡膠墊板厚度)。
4.5測量表面和測量距離
測量表面為等效矩形的包絡面,如圖1~圖4所示。測量距離為1000mm。
4.6測點的配置
4.6.1一級傳動的雙軸型臥式減速機,測點的配置按圖1的規定,測點為4點,對于針齒中心圓直徑小于330mm的減速機,1~3測點的高度H等于250mm,對于針齒中心圓直徑等于或大于330mm的減速機,1~3測點的高度H等于減速機中心高加橡膠墊板厚度。
4.6.2一級傳動的直聯型臥式安裝的減速機,測點的配置按圖2的規定測點為5點,對于針齒中心圓直徑小于330mm的減速機,1、2、3、5測點的高度H等于250mm,對于針齒中心圓直徑等于和大于330mm的減速機,1、2、3、5測點的高度H等于減速機中心高加橡膠墊板厚度。
4.6.3一級傳動的雙軸型立式安裝的減速機,測點的配置按圖3規定,測點為4點,對于針齒中心圓直徑小于330mm的減速機,1~3測點的高度H等于250mm,對于針齒中心圓直徑等于和大于330mm的減速機,1~3測點的高度H等于減速機中心高。
4.6.4一級、二級、三級傳動的直聯型立式按裝的減速機,測點的配置按圖4的規定,測點為5點,其中1~4點的高度等于減速機支承平面與電動機風扇罩頂平面的距離之半加支架的高度和橡膠墊板厚度。
4.6.5二級、三級傳動的雙軸型臥式、立式安裝的減速機以及直聯型臥式安裝的減速機,測點的配置、測點的數量以及測點高度應以低速級針齒中心圓直徑為參量按4.6.1,4.6.2,4.6.3執行。
4.7 各測點離反射面的距離不得小于1000mm。
5測量步驟
5.1A計權聲壓級的測量
在各測點,傳聲器正向面對減速機,聲級計的讀數為表針擺動的平均值,觀察周期不小于10s。
5.2聲壓級頻譜的測量
一般情況下,用1/1倍頻程測量即可滿足要求。有特殊要求時,用1/3倍頻程測量,
中心頻率大于160Hz的頻帶,觀察周期不得小于10s;中心頻率等于和小于160Hz的頻帶,觀察周期不得小于30s。
5.3傳聲器方向的調整
當傳聲器正對氣流方向而影響測量精度時,應將傳聲器移至與氣流方向成45°的位置上配置測點或在傳聲器上加標準的防風罩。在戶外測試時,風速應小于6m/s,且傳聲器應家防風罩。
5.4背景噪聲
將減速機停止運轉后,在各測點測得背景噪聲。減速機試驗時測得的聲壓級與背景噪聲聲壓級之差不得小與6dB,否則應采取措施以滿足這一要求。在測試前后所測背景噪聲之差值不應大于1.0dB,背景噪聲修正量K1按6.1確定。
5.5測量表面面積的計算
測量表面面積按下列公式計算:
式中:S—測量表面面積,m2;
d—測量距離,m;
I1、I2 I3——基準體的長、寬、高,m。
6平均聲壓級和聲功率級的計算
6.1背景噪聲修正量K1(dB)
當減速機試驗時測得的聲壓級與背景噪聲聲壓級之差小于10dB時,應按表1進行修正。
表1 背景噪聲修正量K1
|
聲壓級與背景聲聲壓級之差 |
K1 |
|
<6 |
測量無效 |
|
6~8 |
1.0 |
|
>8~10 |
0.5 |
|
>10 |
0.0 |
6.2環境修正量K2(dB)
當測試環境中有不必要的反射存在時,則必須對測量結果加以修正,修正量K2按表2確定。當K2大于3dB時,測量無效。
在消聲室或半消聲室內進行測試時,修正量K2等于0。
6.3氣溫和氣壓修正量K3(dB)
在通常情況下,氣溫與氣壓對測量結果的影響不大,若測量時的氣溫與氣壓同標準值(取t=20℃時的標準大氣壓p=100kPa)。
相差較大時應應按式(5)計算修正量:
式中:t—測量時的環境氣溫,℃。
P—測量時的環境氣壓,Pa。
K3小于和等于0.5dB時,可以忽略不計。
表2 環境修正量K2
|
房間裝飾情況 |
25 |
32 |
40 |
50 |
63 |
80 |
100 |
125 |
150 |
200 |
250 |
300 |
400 |
500 |
630 |
800 |
1000 |
|
a.房間墻面反射強烈(如:賺墻面、水磨石或打蠟地面) |
|
|
|
|
|
|
3 |
2 |
1 |
0 |
|
b.介于a、c之間 |
|
|
|
|
3 |
2 |
1 |
0 |
|
C.房間墻面反射微弱(裝有一些吸聲材料) |
|
3 |
2 |
1 |
0 |
注:1)V—測試房間容積,m3。
2) S—測量表面面積,m2。
6.4 A計權平均聲壓級的計算:
式中:

——A計權平均聲壓級,dB(A);
LPAt—第i測點的A計權聲壓級,dB(A);
Kli—第i測點的背景噪聲修正量,dB(A);
K2——環境修正量,dB(A);
K3——氣溫、氣壓修正量,dB(A);
N—測點總數。
當各測點的聲壓級之差小于5dB時,平均聲壓級 可用算術平均值求得:
6.5頻帶平均聲壓級的計算:
式中:

——頻帶平均聲壓級,dB;
LPfi——第i測點上的頻帶聲壓級,dB;
Klfi——第i測點上的頻帶背景噪聲修正量,dB;
K2—頻帶環境修正量,dB。
6.6A計權聲功率級的計算
式中:LWA—A計權聲功率級,dB(A);

——A計權平均聲壓級,dB(A);
S—測量表面面積,m2;
S0—基準表面積,1m2。
6.7頻帶聲功率級的計算
式中:LWf—頻帶聲功率級,dB;

—頻帶平均聲壓級,dB。
7測試結果的判定原則
7.1以A計權聲功率級評價減速機噪聲。
7.2在減速機測試時,分別測出正、反兩個方向的聲功率級,數值較大者為減速機噪聲。
8報告內容
編寫報告應包括下列內容:
a.被測產品名稱、型號規格、額定功率、額定轉速、傳動比;
b.被測產品生產單位、生產日期、出廠編號;
c.測定依據;
d.聲學環境;
e.測點布置圖;
f.測試儀器名稱、型號、精度、生產單位;
g.測試數據及結果;
h.測試人員及日期。
附錄A
1/1倍頻帶或1/3倍頻帶聲功率級合成A計權聲功率級的方法
(補充件)
合成計算方法:
式中:Lwj—第j個頻帶聲功率級;
Cj—第j個頻帶計數修正量。
A1 當以1/1倍頻帶計算時,上式中jmax=7,Cj由表A1給出。
表A1
|
j |
1/1倍頻帶中心頻率/Hz |
CjdB |
|
1 |
125 |
-16.1 |
|
2 |
250 |
-8.6 |
|
3 |
500 |
-3.2 |
|
4 |
1000 |
0 |
|
5 |
2000 |
+1.2 |
|
6 |
4000 |
+1.0 |
|
7 |
8000 |
-1.1 |
A2 當使用1/3倍頻帶聲功率計算時,上式jmax=21,Cj由表A2給出。
表A2
|
j |
1/3倍頻帶中心頻率/Hz |
CjdB |
|
1 |
100 |
-10.1 |
|
2 |
125 |
-16.1 |
|
3 |
160 |
-13.4 |
|
4 |
200 |
-10.9 |
|
5 |
250 |
-8.6 |
|
6 |
315 |
-6.6 |
|
7 |
400 |
-4.8 |
|
8 |
500 |
-3.2 |
|
9 |
630 |
-1.9 |
|
10 |
800 |
-0.8 |
|
11 |
1000 |
0 |
|
12 |
1250 |
0.6 |
|
13 |
1600 |
1.0 |
|
14 |
2000 |
1.2 |
|
15 |
2500 |
1.3 |
|
16 |
3150 |
1.2 |
|
17 |
4000 |
1.0 |
|
18 |
5000 |
0.5 |
|
19 |
6300 |
-0.1 |
|
20 |
8000 |
-1.1 |
|
21 |
10000 |
-2.5 |
附錄B
指向性指數的計算(補充件)
B1 減速機的指向性指數,可在一個反射面上方為自由場(半消聲室)的環境中進行測量,并使用
式(B1)計算:
式中:DI—指向性指數;
Lpi—在減速機測量面上某方向測得的聲壓級,dB;

—該測量表面上的平均聲壓級,Db.
附加說明:
本標準由天津市石化通用機械研究所提出并歸口。
本標準有天津市石化通用機械研究所、天津市減速機總廠負責起草。
本標準主要起草人張基梁、王靜瑜。